- Home
- Archives for David Ludlow
David Ludlow
David has been fascinated by technology since he first set eyes on the ZX Spectrum 48K. A fan of smartphones, tablets and home automation, he also specialises in home networking. David has worked in tech publishing for more than 20years, working on PCW, Computer Shopper and launching Expert Reviews in 2010.
-
If you think HTC's rap video's bad, watch these three videos HTC rap hits the bottom of a barrel well scraped by Asus, Microsoft and BlackberryDavid Ludlow -
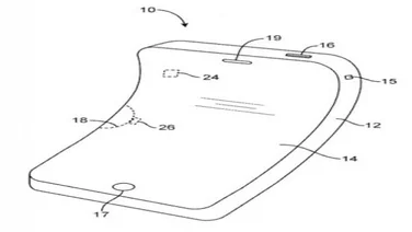
Patently obvious – the iPhone 6S won't have these features A patent doesn't mean that Apple's going to actually use them in the iPhone 6S or other upcoming phone. We find out what they really meanDavid Ludlow -
BT Mini YouView Box review - free with TV Starter A neat way to give an old TV a smart upgrade, but the the BT Mini YouView Box has no media streaming and no Wi-Fi£100David Ludlow
-
How to use the Excel Sumif formula Adding up the value of spreadsheet cells based on whether they match criteria using Sumif can really help you stay organisedDavid Ludlow -
How to use the Excel Countif formula Want to know how many records of a certain type you have in an Excel spreadsheet? You need CountifDavid Ludlow -
How to use Excel data validation Keeping an Excel spreadsheet with consistent values is easy thanks to Excel’s data validation featureDavid Ludlow -
How to use IFTTT recipes Create IFTTT recipes to automate practically everything on the internet or your smartphoneDavid Ludlow -
How to delete, not archive, Gmail messages on iPhone Fed up of only seeing an Archive option on your iPhone’s email? Don’t fret, we show you how to delete insteadDavid Ludlow -
How to use Handoff on iOS 8 and Yosemite You can start a task on one Apple device and finish it on another with Handoff - we show you how to use it on iOS 8 and YosemiteDavid Ludlow -
How to download & make Windows 7, 8 & 8.1 installation discs Create your own full Windows disc, by downloading the Windows 7, 8 or 8.1 ISO legally and for freeDavid Ludlow -
best buy
Apple OS X 10.10 Yosemite review OS X Yosemite is a great update that tightens the integration between Apple’s mobile and desktop operating systemsDavid Ludlow -
How to use iOS 8 and iPhone 6 continuity (and turn it off) Answer calls from your iPad, send messages and more with iOS 8 ContinuityDavid Ludlow -
Google Glass review - hands on, UK price and best apps We explain how to buy Google Glass in the UK, its UK price and give our hands-on impressions of Google GlassDavid Ludlow -
recommended
Amazon Kindle (2012) review It's basic, but the price is spot on and the screen quality is excellent. If you want a device for pure reading, this is it£69David Ludlow -
best buy
Apple Keyboard with Numeric Keypad review You may have to fiddle to get it working on a PC, but Apple's keyboard is super-comfortable to type on and has excellent build quality£40David Ludlow